《W5200E01-M3远程固件更新教程》之app.bin程序说明&上位机程序说明
今天给大家继续介绍《W5200E01-M3远程固件更新教程》中,app.bin及上位机程序的说明。
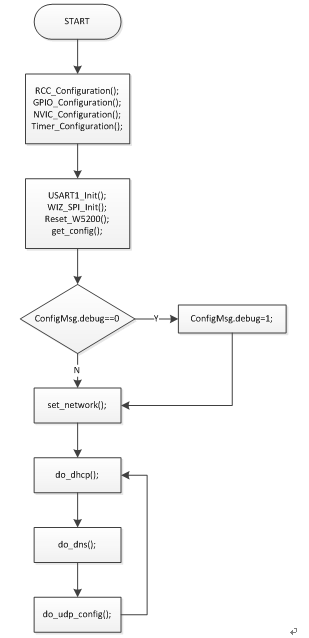
3.1 main 函数
首先,对系统各个组件进行初始化,该过程包括系统时钟初始化、输入输出引脚初始化、嵌套中断向量初始化、计时器初始化、串行通信端口初始化、WIZnet W5200的SPI通信端口初始化,再对W5200进行复位操作。同时,打印输出“W5200 init over”。
然后,获取当前配置信息,并打印固件版本号,检查配置信息中的调试标志ConfigMsg.debug。如果调试标志位为0,则调试标志置1,并进行网络设置。
最后,循环执行do_dhcp(),do_dns(),do_udp_config()函数,以实现动态主机配合功能和域名系统功能。

图10 主函数流程图
3.2 app.bin main() function source code

上位机通过电缆与下位机相连。下位机进行数据预处理,组成一定的数据格式,通过RS-232串行口,将数据送到上位机,上位机采用串口终端方式接收数据,保证采集数据的实时处理。
那么在远程固件更新的过程中。PC机作为上位机,接收数据,进行固件程序的更新。
我们在更新过程中,使用Nuri配置工具。

配置工具软件NURI通过PC的RS232与设置相连接,作用有两个:
1.设备对数据进行预处理,并组帧上传给PC。
2.PC可以通过软件对设备固件进行升级。
![]()
点击此按钮,即可上传更新程序到上位机。实现快速更新。
感谢关注!
明天介绍 更新过程的操作方法
相关内容:
《W5200E01-M3远程固件更新教程》之boot.bin程序说明
《W5200E01-M3远程固件更新教程》之系统说明