对缓存的思考——提高命中率
通用缓存结构
回顾
在提高程序性能、何为缓存中提到:早起的cpu存储层次只有三层,即cup的寄存器,DRAM主存和磁盘存储。因为寄存器和主存之间的访问时间开销差距很大,于是设计者在寄存器(一个时钟周期)和主存之间加入了L1缓存(2——4个时钟周期),后来由于L1缓存和主存之间的差距,又在主存和L1之间加入了L2缓存,当然后面还有L3缓存,,,等等。
在这里为了简单起见,假设CPU寄存器和主存之间只有一个L1缓存。
下图是高速缓存存储器的典型总线结构:

缓存结构
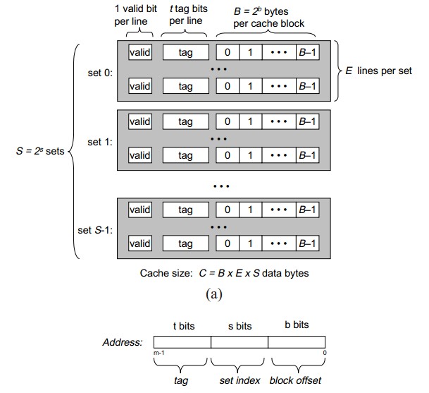
下图清晰的说明了通用缓存的组织结构:

可以看到,缓存内部是以组的形式组织的。图中的每一块代表一组,每组由一到多行组成(当然图中的是每组有多行)。
每一行包括
1 位标记位(valid bit)标明这行的信息是否有可用
t 位的标记,标明它是属于这一组的哪一行
剩下的空间是存储数据的数据的空间
可以看出在下面的图中把数据地址分为了三部分,左边 t 位是标记行号的,中间的 s 位标明组号,最后的 b 位则是数据块在行内的偏移量。
通常来说,缓存器可描述为(S; E; B; m)其中S为缓存中的组数,E为每组的行数,B为每行存储的字节数,m为缓存的地址位数。
所以缓存的容量为C=S*E*B。
从缓存中取数据
(这个过程在上一篇博文中就有简单的介绍)当cpu需要从主存中取出地址为A的数据时,先把地址A发送给缓存,如果缓存中存有地址为A的数据,就从缓存中取出该数据传给cpu。
那么,缓存是如何知道自己是否存有地址为A的数据呢?这就和缓存的组织有关系了,上文中缓存把地址组分为了三部分,t 、s 、b。
所以,只要简单的检查地址中的数据位,就能判断该地址是否在缓存中,如果在的话,还能确定该数据的位置。
参数 s 、b 、m 把m个地址位分为三个字段。如下图:

下面的详细的寻址过程
地址A中的中间S 位标记了该地址在缓存中属于哪一组,先通过s 确定这个地址在缓存中的哪一组。
通过上面一步确定了属于的组后,地址A中的左边 t 位标记了该地址在该组的哪一行。
最后由右边的 b 指出地址A中的元素在该行的偏移位。也就是确定在这行的哪一个位置。
CPU从主存中读数据的详细过程
和上文中说的一样,这里假设计算机的存储结构只有:cpu寄存器,L1缓存,主存。
当cpu执行一条读存储器地址为A的指令,它向高速缓存请求该地址,如果缓存命中,缓存很快返回数据。如果缓存不命中,L1缓存向主存请求该数据,在这期间cpu必须等待。当被请求块从主存到达缓存L1时,L1缓存将数据放在他的一个高速缓存行里,然后将数据从行中提取返回给cpu。也就是说,如果缓存不命中,先要把数据存入缓存,再返回给cpu。
概括的说,高速缓存确定一个请求是否命中有三个过程:?
1、组选择
2、行匹配
3、字抽取
下面将会结合具体情况说明这一过程。
直接映射高速缓存
现在已经知道,我们用(S; E; B; m) 来描述缓存,这里就根据其中的E,也就是一组的行数, 把缓存分为不同的类别。
当E=1 时,也就是说每组只有一行的缓存组织形式,我们称为直接映射高速缓存。因为容易理解,先对它进行介绍。

(图片来源 《computer systems》)
正如上图所示,直接映射高速缓存中每组只有一行。
直接映射高速缓存中取数据
下面将以直接映射高速缓存为例,一步步说明cup从高速缓存中取数据的过程。
1、组选择

如上图所示,缓存从地址A中抽取出中间的s 位,这 s 为的数值就标记了该地址所在的组。这里可以把缓存当作是一维数组,其中每个元素是一个组,而地址中的 s 位则是这些组的索引。如图中的组标记为 0001 对应组 set1。这要把地址中间的 s 为提取,就能得到该地址在缓存中对应的组。
2、 行选择
选好组 i 之后,就是确定地址A在组 i 的哪一行。因为直接映射缓存的每一组只有一个行。所以只要看A地址中的行标记是否和缓存中的行标记位匹配。匹配则地址A中的数据在缓存中。
3、字抽取
既然已知道了地址A中的数据在缓存中的位置,最后一步只要更具地址A中表示偏移量的位,从缓存中取出数据即可。
如下图所示:

直接映射高速缓存不命中
当缓存不命中的时候,就要从下一层存储中取出数据,放入缓存的某个位置中,放入的位置就由请求地址A中的组索引确定所在缓存的组,行所以确定应该放置的行。如果组中的行都是有效缓存行了,就必须要驱逐现有的一个行。对于直接映射高速缓存,每组包含一个行,替换策略就变的很简单,用新来的行替换当前行。
直接映射缓存寻址示例
通过上面的介绍,已经基本了解了缓存的组织形式以及如何从缓存中取出数据,但是上面都只是理论上的阐述。
为了能更好的了解,这里会有一个具体的示例。诚然,学习一种只是最好的方式就是应用它。 如果你已经对上面的知识有所了解,那么请继续吧。下面的内容会让你更清楚的了解到缓存工作的机制。
假设我们有一个直接映射的高速缓存,描述如下
(S; E; B; m)=(4;1;2;4)
也就是说:该缓存有4个组(s=4),每组有一行(E=1),每一块有两个字节(B=2)存储器的地址是4位的(m=4)
该状态有图描述如下:

其中最左边的一列是地址,中间的三列是地址的二进制表示形式。最右边的一列是虚拟存储器的块的标号。
和上文中说的一样,缓存寻址时,把地址分为了三个部分。分别表示该地址在缓存中所在的组、行、以及偏移。和上图所对应是四位的地址,
行:其中最高的一位标记所在的行,因为是直接映射高速缓存,每组只有一行,所以一位就能表示。
组:中间的两位表示地址所在的组。从图中可以看出,拥有相同组的地址有四个,比如组号为00 的地址有四个,为0、2、8、9
偏移:偏移位由最右边的一位表示。每行中有两个数据块,所以偏移位用一位也就能表示。
看这个表的时候有一点提示:中间的三列其实是第一列地址的二进制表示形式。
下面是对这个特定缓存的一点分析:
(S; E; B; m)=(4;1;2;4)
该缓存有四个组,每组一行。有图中可知,要放入缓存的地址为16个。所以每组对应四个地址。在图中的表现就是:四个相同的地址有相同的组索引。
每行有两个数据块,用地址最低位表示(0表示第一个,1为第二个)。
看组索引为00的地址,为0 、1 和 8 、9。0和1有相同的行标记0,8和9有相同的行标记1.所以地址为0、1的数据要么都在组00中,要么多不在。地址为8、9的也一样。说明了0、1是一个整体,8、9也一样。如果在,都在;不在,都不在。这两个整体通过最高位(标记为)来标明。
下面是寻址实例
刚开始时,缓存是空的,也就是还没有预热,如下图所示

1)读地址0的字
地址0的为 0 00 0 对应缓存中第0组,行标记位为0的,偏移为0的位置。显然,现在缓存还是空的(标志位 valid 都为0)。缓存不命中,所以缓存先从下一级的存储中取出改行对应的所有地址的元素,放入缓存中。(也就是地址为0 和1 的元素)。然后再从缓存中取出数据m[0],传递给cpu。
进过对地址0的读操作后,缓存的组织情况如下所示

这也验证了上文的说法,地址0 和1 是一体的,他们要么都在,要么都不在。因为他们有相同的组索引、行索引。
2)读取地址1的字
地址1为0 00 1 对应缓存中的第0组,行标记为0,偏移为1。这次缓存命中,从缓存返回m[1]
3)读地址13的字
地址13为1 10 1 对应缓存中的第2组 行标记为1 偏移为1。同1)一样,缓存不命中,从低一级存储中取出 组索引为10 行为1 的数据放入缓存,然后返回m[13]
对地址13进行操作后的缓存情况为

4)读地址为8的字
地址8为 1 00 0 组索引为00 行标记为1?偏移为0 在看上图的缓存组织情况,可判读发生缓存不命中。于是从低一级存储中取出组索引为00 行标记为1 的数据,也就是m[8]、m[9]放入第一行中,然后返回m[8]
操作后的缓存组织为

通过上面的示例,应该对缓存的工作原理有一定了解了把。
其实就是吧地址分为不同的部分,划分为表示组、行 和偏移。然后根据这些去判断所需地址是否在缓存中。如果在,则返回数据,不在则从低一级的存储中取出数据放入缓存中(放入的位置由地址确定)。然后返回地址。
组相联高速缓存
?刚才讨论的直接映射高速缓存可以看作是缓存中的一个特例,因为每组只有一行。这里介绍一下更普遍的缓存结构:组相连高速缓存。
其实就是每一组有多行。如下图是E =2 的缓存

同样的,当要从缓存中取地址为A的数据时,
1)先确定地址A所在的组,如下图所示

2)确定行
3)抽取字(偏移)

全联高速缓存
?全联高速缓存中的S =1 ,也就是说,全联高速缓存只有一个组。

全联高速缓存中对数据的操作和之前讨论过的两种情况大同小异,主要就是三部。这里就不说了。
小结
这篇博文先介绍了缓存内部的组织形式,并介绍了从缓存中读取数据的方式,主要包括1)组选择2)行匹配 3)字抽取
缓存可以用形如(S; E; B; m)的形式表述。其中S代表缓存中的组数,E为每组的行数,B为每个缓存块的大小。
更具E的不同可将缓存分类。