一款全太阳能驱执笔记本
一款全太阳能驱动笔记本???????????? 尽管此前也有许多外界装置用来收集太阳能给笔记本供电,但是由Andrea
一款全太阳能驱动笔记本

?
??????????? 尽管此前也有许多外界装置用来收集太阳能给笔记本供电,但是由Andrea Ponti公司设计的这一款笔记本将是第一款纯太阳能供电的笔记本,也可能会成为史上最为绿色的笔记本。
?

?
??????????? 该笔记本将配置两块太阳能面板:一块在显示器背后,另一块在触摸键盘下面,这两块面板将担负着给电脑持续供电的重任。目前尚不清楚他们的测试是否成功,不过在太阳下面使用电脑显然要比在室内使用电脑更加耗电。一种可能的解决方案是采用电子墨水显示(electronic ink display)来代替传统的背光显示。
?
?????? 据悉,该笔记本材料主要是聚碳酸酯,重约4磅,此前曾入选富士通2011设计比拼大赛。
?

??????
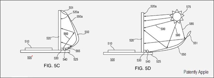
??????????? 不过对于富士通是否将会实际生产这款笔记本,目前还没有确切的消息。但是显然他们不是唯一一家将阳关考虑到电脑设计中去的公司,去年苹果就申请了一项“收集外部光源来照亮显示屏”的专利。
?

?
??????????? 在苹果看来,可以通过不同角度的折叠反光板来给显示屏增加亮度,此外还有传闻说他们也在考虑将太阳能电池融合进笔记本。
文章来自36氪
1 楼 ray_linn 2011-06-07 效能低,成本下不来呗~ 2 楼 珂儿 2011-06-07 将来会普及插电,太阳能都支持的笔记本。 3 楼 ray_linn 2011-06-07 珂儿 写道将来会普及插电,太阳能都支持的笔记本。
效率太低,基本没啥用吧。除非我们不怕在太阳下暴晒。 4 楼 抛出异常的爱 2011-06-07 穿越软件必备
5 楼 IcyFenix 2011-06-08 恩,ls说的对,用这东西下个维基百科离线版,然后遭雷劈几下穿越回古代用的。封侯拜相就靠它了。 6 楼 iaimstar 2011-06-08 雷劈完本本还能用吗.. 7 楼 抛出异常的爱 2011-06-08 iaimstar 写道雷劈完本本还能用吗..
现在穿越都群穿+黑洞穿
8 楼 wangshaofei 2011-06-08 抛出异常的爱 写道iaimstar 写道雷劈完本本还能用吗..
现在穿越都群穿+黑洞穿
这个是在没电的时候,应急的。但要说穿越的话,估计也可以用,古代的太阳和现在的太阳应该差不多。要是怕自己晒伤的话,穿越的时候可以带上防晒霜之类的。 9 楼 iaimstar 2011-06-08 抛出异常的爱 写道iaimstar 写道雷劈完本本还能用吗..
现在穿越都群穿+黑洞穿
如果是穿越虫洞的话
在这边先被压力压成片,出去的时间再被张力拉成粉
几个杨幂都顶不住啊
还得自备法拉第环 - - 10 楼 javavsnet 2011-06-08 iaimstar 写道抛出异常的爱 写道iaimstar 写道雷劈完本本还能用吗..
现在穿越都群穿+黑洞穿
如果是穿越虫洞的话
在这边先被压力压成片,出去的时间再被张力拉成粉
几个杨幂都顶不住啊
还得自备法拉第环 - -
肉身穿越很难解决,现在很多灵魂穿越+灵魂附体,回去当大官的 11 楼 IcyFenix 2011-06-08 看来JE上研究穿越的同学比研究java的同学多啊 12 楼 wangshaofei 2011-06-09 大家请穿越过的,讲一下穿越历程吧?